鞍山银行空降“一把手”!年报“难产”4年后建行老将李驰接棒,2020年三季度净利润已暴跌6成
2024-06-04 14:29:17
来源:
金融界
作者:bank
6月4日,因业绩持续滑坡,四年未披露年报的鞍山银行迎来新任董事长。
据鞍山银行官网信息显示,该行拟定于6月底召开年度股东大会,其中将听取关于项晓云董事长辞去董事会职务的通报,并审议《关于鞍山银行董事会换届及推选董事的议案》。根据该行披露的董事会候选人简历,原建设银行抚顺分行行长李驰已于今年4月担任鞍山银行党委书记、董事长。
据了解,本次“换帅”是因为原董事长到龄退休,项晓云曾先后担任鞍山银行监事长、董事长职务,现已年满60周岁。而现任接班者李驰今年52岁,曾在建行系统工作近30年,曾任建行辽宁省分行机构业务部总经理、沈阳城内支行行长、省分行个人金融部总经理、抚顺分行行长等职。
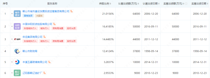
企查查信息显示,鞍山银行是一家地方性商业银行,成立于1998-09-14,注册资本304535万元人民币。第一大股东为鞍山市城市建设发展投资运营集团,持股比例21.02%,第二大股东为中国华阳投资控股有限公司,持股比例16.42%;第三大股东为宏运集团有限公司,持股比例14.45%。不过,第二、第三大股东已被列为失信被执行人,限制高消费。

同花顺数据显示,自2019年以来,该行便未披露年报数据,最新业绩报为2020年三季报。截止2020年三季度末,该行资产规模达1237.10亿元。2020年三季度该行实现营收5.29亿元,同比下滑32.15%;归属于母公司股东的净利润1.13亿元,同比下滑63.31%。
全部评论
机会情报
- 银行股迎来“黄金买点”?摩根大通预计下半年潜在涨幅高达15%,股息率4.3%成“香饽饽”
- 华润电力光伏组件开标均价提升,产业链涨价传导顺利景气度望修复
- 我国卫星互联网组网速度加快,发射间隔从早期1-2个月显著缩短至近期的3-5天
- 光伏胶膜部分企业上调报价,成本增加叠加供需改善涨价空间望打开
- 广东研究通过政府投资基金支持商业航天发展,助力商业航天快速发展
- 折叠屏手机正逐步从高端市场向主流消费群体渗透
- 创历史季度新高!二季度全球DRAM市场规模环比增长20%
- 重磅!上海加速推进AI+机器人应用,全国人形机器人运动会盛大开幕,机器人板块持续爆发!
- 重磅利好!个人养老金新增三大领取条件,开启多元化养老新时代,银行理财产品收益喜人!
- 重磅突破!我国卫星互联网组网速度创新高,广东打造太空旅游等多领域应用场景,商业航天迎来黄金发展期!
